Назначение
Узлы крепления КГП предназначены для крепления с подвижностью в двух взаимно перпендикулярных плоскостях поддерживающих подвесок проводов и креплений молниезащитного троса к металлическим траверсам опор.
Узлы крепления КГП изготавливаются по ГОСТ Р 51177-2017.
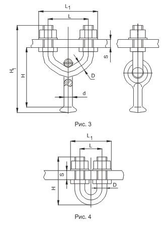
Таблица размеров
| обозначение | рис. | размеры, мм | s | масса, кг | разрушающая нагрузка, кн (тс), не менее | |||||||
| d | d₁ | d | h | h₁ | l | l₁ | min | max | ||||
| КГП-4-1 | 2 | 16 | 17,0 | 14 | 77 | 126 | 80 | 112 | 6 | 8 | 0,64 | 40 (4) |
| КГП-4-2 | 3 | 16 | 11,9 | 87 | 128 | 80 | 112 | 6 | 8 | 0,56 | 40 (4) | |
| КГП-7-1 | 2 | 16 | 16 | 82 | 135 | 80 | 112 | 6 | 8 | 0,8 | 70 (7) | |
| КГП-7-2б | 3 | 20 | 17 | 115,5 | 173 | 80 | 117 | 12 | 16 | 1,12 | 70 (7) | |
| КГП-7-2в | 3 | 16 | 17 | 96 | 141,4 | 80 | 112 | 6 | 8 | 0,7 | 70 (7) | |
| КГП-7-3 | 5 | 16 | — | 80 | — | 80 | 112 | 6 | 8 | 0,44 | 70 (7) | |
| КГП-7-3А* | 6 | 16 | — | 80 | — | 80 | 112 | 6 | 8 | 0,46 | 70 (7) | |
| КГП-12-1 | 2 | 20 | 21,5 | 22 | 104 | 174 | 80 | 117 | 12 | 16 | 1,72 | 120 (12) |
| КГП-16-1 | 2 | 24 | 25,0 | 25 | 108 | 183 | 100 | 144 | 12 | 16 | 2,43 | 160 (16) |
| КГП-16-2 | 2 | 20 | 21,5 | 25 | 109 | 179 | 80 | 117 | 12 | 16 | 2,03 | 160 (16) |
| КГП-16-3 | 5 | 20 | — | 80 | — | 80 | 117 | 12 | 16 | 0,81 | 160 (16) | |
| КГП-16-3А* | 6 | 20 | — | 103 | — | 80 | 117 | -12 | 16 | 0,83 | 160 (16) | |
| КГП-21-1 | 2 | 27 | 28,0 | 28 | 113 | 194 | 100 | 150 | 12 | 16 | 3,56 | 210 (21) |
| КГП-21-2 | 2 | 24 | 25,0 | 28 | 113 | 193 | 100 | 144 | 12 | 16 | 3,0 | 210 (21) |
| КГП-21-3 | 5 | 24 | — | 100 | — | 100 | 144 | 12 | 16 | 1,22 | 210 (21) | |
| КГП-21-3А* | 6 | 24 | 25,0 | — | 11 | — | 100 | 144 | 12 | 16 | 1,42 | 210 (21) |
| КГП-30-1 | 2 | 27 | 28,0 | 36 | 138 | 224,5 | 100 | 150 | 12 | 16 | 4,7 | 300 (30) |
| КГП-9/12-2с | 1 | 20 | 21,0 | 22 | 95 | 166 | 44 | 81 | 12 | 18 | 1,65 | 90 (9) |
| КГП-9/12-3 | 4 | 20 | — | 95 | — | 44 | 81 | 12 | 18 | 0-70 | 120 (12) | |
* — для районов с повышенными ветровыми нагрузками (отклонение подвески поперек линии до 60 градусов)
Узлы крепления КГП представляют собой элементы, предназначенные для надёжного закрепления и фиксации кабельной гирлянды подвески (КГП) с подвижностью в двух взаимно перпендикулярных плоскостях. Они обеспечивают стабильное положение кабеля и предотвращают его смещение или повреждение.
В зависимости от модели, узлы крепления КГП могут иметь различные характеристики и особенности. Например, узел крепления КГП-9 предназначен для закрепления поддерживающих и натяжных изолирующих подвесок на опорах воздушных линий электропередачи. Он обеспечивает надёжную фиксацию и стабильное положение кабеля. Узел КГП-30 также используется для надёжного удержания и фиксации кабельной гирлянды на опорах воздушных линий электропередачи, однако его характеристики и область применения отличаются от КГП-9.
Где используются узлы крепления КГП
КГП применяются для надёжного удержания кабельной гирлянды подвески на опорах линий электропередач или других конструкциях. Актуальны при строительстве и ремонте воздушных линий электропередач, в энергетике, на промышленных предприятиях, а также в устройствах для передачи электроэнергии на большие расстояния.
В чем состоят функции качественных узлов КГП
- Надежность соединения. Устройства обеспечивают стабильное положение кабельной гирлянды подвески, предотвращая её смещение или повреждение под воздействием ветра, вибрации и других факторов.
- Безопасность. Использование качественных устройств устройств снижает риск аварий и повышает безопасность высоковольтного оборудования.
- Облегчение монтажа и демонтажа. Специальная конструкция облегчает установку и снятие кабельной гирлянды, что упрощает обслуживание и ремонт линий электропередачи.
- Регулировка положения кабеля. Устройства позволяют регулировать положение кабеля, обеспечивая оптимальное натяжение и предотвращая перегрузку системы.
Для обеспечения безопасности и надёжности работы высоковольтного оборудования необходимо использовать качественные узлы КГП, соответствующие требованиям и стандартам. При выборе устройства следует учитывать следующие факторы:
- Материал. Устройства должны быть изготовлены из прочных материалов, устойчивых к воздействию окружающей среды и механических нагрузок.
- Конструкция. Конструкция должна обеспечивать простоту монтажа и демонтажа, а также возможность регулировки положения кабеля.
- Совместимость. Устройства должны быть совместимы с другими элементами высоковольтного оборудования и обеспечивать надёжное соединение кабельной гирлянды.
Регулярное техническое обслуживание устройств КГП позволяет своевременно выявлять и устранять возможные неисправности, что способствует повышению безопасности и надёжности работы высоковольтного оборудования.
Завод «АИЗ» производит надежные устройства следующих типов:
- КГП-9;
- КГП-30;
- КГП-21;
- КГП-16;
- КГП-12;
- КГП-7;
- КГП-4.
Купить продукцию дешевле, чем у конкурентов можно самовывозом или с доставкой по всему Узбекистану.













Отзывы
Отзывов пока нет.